Skip to main content

Intel Panther Lake-H Debuts on ADLINK VNX+ SFF Industrial Board

·486 words·3 mins
Intel Panther Lake-H ADLINK VNX Industrial Board 18A Process Hybrid Architecture
Table of Contents

Intel’s latest Panther Lake-H processor has officially debuted, integrated into ADLINK’s VNX+ SFF (Small Form Factor industrial board) platform. Known as VNX-PL, the board is roughly palm-sized yet supports up to 16 cores with a 65W TDP, targeting industrial automation, defense, and aerospace use cases where long-term reliability is essential.

Compared with Meteor Lake and the upcoming Arrow Lake, the Panther Lake-H represents Intel’s new direction for hybrid CPUs: optimized for efficiency and industrial-grade deployment rather than consumer performance peaks.

Intel Panther Lake-H VNX CPU Blade

Panther Lake-H Core Architecture
#

The VNX-PL board follows the VITA 90.x standard and offers two processor configurations:

  • 16-core SKU

    • 4 × Cougar Cove P-Cores
    • 8 × Darkmont E-Cores
    • 4 × LP-E low-power cores
  • 8-core SKU

    • 4 × Cougar Cove P-Cores
    • 4 × LP-E low-power cores

Both versions support a dynamic 1W–65W TDP range, enabling flexible tuning for diverse embedded workloads.

🔹 Architecture contrast:

  • Meteor Lake-H → Redwood Cove P-Core + Crestmont E-Core (notebooks)
  • Arrow Lake-H → Lion Cove P-Core + Skymont E-Core (high-performance consumer)
  • Panther Lake-HReliability-first industrial and embedded design

Memory, Storage & I/O
#

Panther Lake-H platform features include:

  • Dual-channel LPDDR5X-8533 (16GB or 32GB onboard, non-expandable)
  • 1TB PCIe Gen4 x1 SSD

I/O and Expansion
#

  • 1 × 1GBase-KX control plane
  • Optional 1 × PCIe Gen4 x4 or 2 × 10GBase-KX4 data plane
  • 1 × PCIe Gen5 x8 expansion plane
  • 1 × PCIe Gen4 x2 peripheral plane
  • 1 × DisplayPort 2.1
  • 2 × USB 3.2 ports
  • QMC slot for custom industrial extensions

This design aligns with secure, high-throughput industrial workloads requiring specialized connectivity.

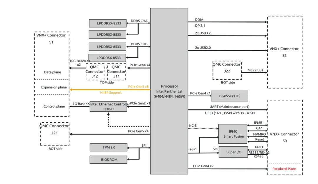
ADLINK VNX PL Block Diagram

PCIe, Security & System Design
#

According to ADLINK’s block diagram, Panther Lake-H integrates:

  • 12 PCIe Gen5 lanes
  • 7 PCIe Gen4 lanes
  • 1 PCIe Gen2 lane

It also supports a TPM 2.0 security module, enabling secure boot, encryption, and system manageability — essential for defense and aerospace deployments.

Compared with Meteor Lake, Panther Lake-H delivers higher bandwidth and stronger system security, laying the foundation for next-gen industrial computing.

18A Process Node & Xe3 GPU
#

A major highlight: Panther Lake-H is among Intel’s first processors built on the 18A node.

Key advantages include:

  • Hybrid 16-core architecture (P-Cores + E-Cores + LP-E cores)
  • Integrated Xe3 “Celestial” GPU with up to 12 Xe cores
    • +50% more than Lunar Lake Xe2
    • Stronger visualization and embedded graphics performance

Featured Panther Lake-H 18A

Market Position & Availability
#

  • Initial sampling: Q4 2025
  • Industrial boards shipping: Early 2026

Unlike Meteor Lake (consumer laptops) or Arrow Lake (consumer high-performance platforms), Panther Lake-H is explicitly designed for industrial and embedded markets, offering long lifecycle support and efficiency over peak benchmarks.

Conclusion
#

The Intel Panther Lake-H bridges the gap between consumer hybrid CPUs and industrial-grade embedded solutions:

  • Meteor Lake → consumer-first hybrid introduction
  • Arrow Lake → performance-driven consumer launch
  • Panther Lake-Hindustrial reliability, efficiency, and long-term supply

With availability expected in 2026, Intel is positioning Panther Lake-H as a competitive solution for compact, power-efficient industrial systems — from automation to defense.

Related

Intel Driver Update: Allocate More System Memory to iGPU for AI and Creative Workloads
·736 words·4 mins
Intel IGPU Graphics Driver AI
Intel 18A Process Faces Yield Problems, Mass Production Delayed
·519 words·3 mins
Intel 18A Panther Lake Process Yield Foundry
Intel Tapes Out Arm-Based SoC on 18A Node
·469 words·3 mins
Intel 18A Arm Foundry